分享
查看: 8778|回复: 3

海安挂牌2宗优质地块,楼面价约7191元/㎡起

[复制链接]

海安挂牌2宗优质地块,楼面价约7191元/㎡起

发表于 2025-12-15 09:24:22 只看大图 阅读模式 倒序浏览
8778 3 查看全部
MAJOR SNOW人间至此雪盛时


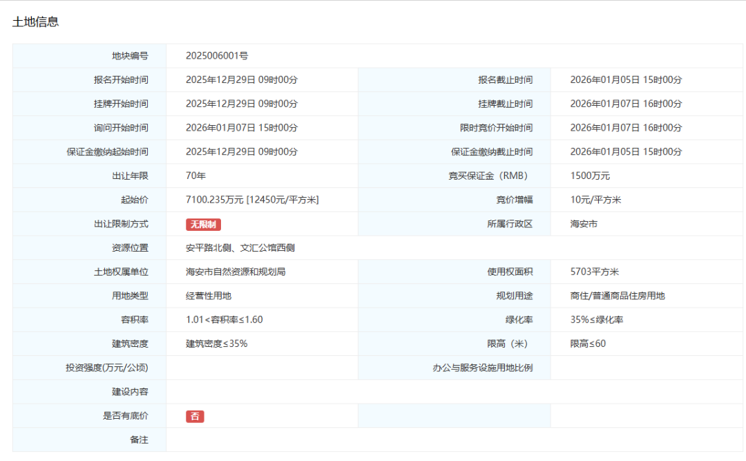
    近日,海安又挂牌2宗优质涉宅地块,编号分别为2025006001、2025009001。2宗地块均位于海安主城高新区板块,出让面积分别为5703㎡,12576㎡,起拍金额约7100.235万元、16278.3744万元,折合楼面价约7781元/㎡、7191元/㎡。

640?wx_fmt=png&from=appmsg#imgIndex=4 640?wx_fmt=png&from=appmsg#imgIndex=5
    2025006001地块位于安平路北侧、文汇公馆西侧,地处海安市主城高新区,规划面积仅8.6亩,是1宗“小而精”的稀缺涉宅地块,其中涵盖地上计容建筑面积的8%的商业建筑。

640?wx_fmt=png&from=appmsg&tp=wxpic&wxfrom=5&wx_lazy=1#imgIndex=2
|地块卫星图
    2025009001地块位于东海大道北侧、启慧路西侧,占地面积18.9亩,规划容积率1.01-1.8,建筑密度≤35%。

640?wx_fmt=png&from=appmsg&tp=wxpic&wxfrom=5&wx_lazy=1#imgIndex=3
|地块卫星图
    作为主城核心的辐射区域,地块周边覆盖丰富的生活配套资源,满足日常教育、医疗、商业、娱乐所需。
    让我一起期待新项目的诞生~
来源:海安楼市网

41

主题

407

回帖

1114

积分

论坛网友

积分
1114
飞天 发表于 2025-12-15 09:25:04 显示全部楼层 来自: 山东
找到好贴不容易,我顶你了,谢了

46

主题

434

回帖

1100

积分

论坛网友

积分
1100
杨琳琳 发表于 2025-12-15 09:45:09 显示全部楼层 来自: 美国
没看完~~~~~~ 先顶,好同志

43

主题

418

回帖

1066

积分

论坛网友

积分
1066
费丹 发表于 2025-12-15 10:05:14 显示全部楼层 来自: 美国
过来看看的
游客~
您需要登录后才可以回帖 登录 | 立即注册

本版积分规则